湖北吉锋智能取得集成式座椅扶手专利,能够提升扶手骨架与座椅靠背骨架连接的稳定性
金融界2024年9月30日消息,国家知识产权局信息显示,湖北吉锋智能科技有限公司取得一项名为“一种集成式座椅扶手”的专利,授权公告号CN 221775737 U,申请日期为2024年3月。
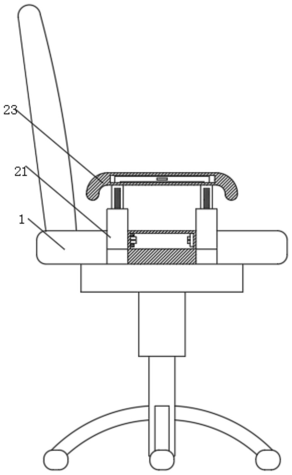
专利摘要显示,本实用新型涉及汽车座椅技术领域,公开了一种集成式座椅扶手,包括扶手骨架、支架、紧固件和座椅靠背骨架,扶手骨架中贯穿转动连接有空心轴,空心轴包括转动段和定位段,转动段呈空心圆柱体且贯穿转动连接于扶手骨架中,定位段包括等间隔分布于转动段圆周端面的若干个定位卡板,定位卡板与支架上的定位孔配合卡接,位于定位孔内部之间的支架上还设置有通孔,紧固件包括贯穿空心轴和支架上通孔的螺栓,支架远离扶手骨架的侧面处的螺栓上螺纹连接有焊接螺母,支架相对两侧边的翻边板上均设置有连接孔,连接孔与座椅靠背骨架可拆卸连接,本实用新型具有以下优点和效果:能够提升扶手骨架与座椅靠背骨架连接的稳定性,延长座椅靠背骨架的使用寿命。
本文源自金融界
农机板块走强 吉锋科技涨停
中证网讯(记者 牛仲逸)5月12日早盘,农机板块直线拉升。截至9:37,通达信数据显示,吉锋科技涨停,轴研科技、一拖股份涨幅超7%。
相关问答
吉林省省审的玉米品种主要有哪些?-深圳市好易修科技有限公...
A:奥玉20(Z7020)、奥玉3101(国)、安玉13(四平地区)。、B:白单3号、新白单31、白单52号、白早2号、白早3号、白早9号、白山1号、白山3号、白山4号、...
